מסור מנסרים מעשה ידי DIY מעניין
זוכרים את הסרט המפורסם עם מל גיבסון האכזרי? בעולם פוסט-אפוקליפטי, אנשים נלחמים על מים, נלחמים בטכנולוגיה מדהימה ומשתמשים במכניקה ביתית כדי לשרוד. אתה יכול לטעון שרוב זה פעל על מנועי בנזין, מכיוון שהם הציוד האוטונומי היחיד. ובעולם האמיתי, הכלי הזה נמצא בארסנל של כמעט כל תושב קיץ. אם יש לך מסור חשמלי, לא תלך לאיבוד בשום מצב. במאמר זה, עורכי המגזין המקוון homebase.decorexpro.com/iw/ הכינו עבורכם סקירה כללית של מוצרי מסור מנסרים תוצרת בית. במו ידיכם, בעזרת מכשירים פשוטים, תוכלו לייצר מכשירים שימושיים רבים לכלכלה על בסיס "ידידות" או "אוראל".
תוכן המאמר
- 1 רעיונות להישרדות: מה אתה יכול לעשות במו ידיך ממנסרת שרשרת רגילה
- 1.1 מפוח שלג מסור חזק
- 1.2 אופנוע שלג אוניברסלי עשה זאת בעצמך ממנסרת שרשרת
- 1.3 מנסרה ביתית ממנסרה ביתית
- 1.4 מברשת קרח מסור DIY: תכנית ותרגול
- 1.5 מקדחה מנועי DIY
- 1.6 מנוע סירת מנסרים DIY
- 1.7 איך מייצרים טוסטוס מאופניים ומסור שרשרת
- 1.8 המשך הנושא האוטומטי: קארטינג עשה זאת בעצמך ממנסרת
- 1.9 גנרטור מסור עזר DIY
- 1.10 כננת מסור
- 1.11 חותך גז DIY ממסור חשמלי, או איך מכינים מטחנה: וידאו
- 1.12 צעצוע למבוגרים: מכונית מסור חשמלי בשליטה רדיו
- 2 תוצרת בית ממנסרת המנסרים אוראל
- 3 כלי הישרדות
רעיונות להישרדות: מה אתה יכול לעשות במו ידיך ממנסרת שרשרת רגילה
כלי זה נוח בכך שהוא אינו תלוי במקור החשמל. אתה יכול לעבוד איתו מחוץ לבית. אם אתה זקוק פתאום למשאבה, גנרטור, מכשיר לפינוי שלג או גרזן קרח - המנסרה תהפוך ללב של כל מכונית ביתית. בדרך זו לא רק תחסוך כסף, אלא גם תקבל ציוד חזק ואמין באמת. מבוסס על מנוע בנזין 4-8 כ"ס. מ. אתה יכול לבנות מנסרה ביתית, מזחלת, מחולל אור ואפילו מטפח. שקול את מוצרי המנסרים הביתיים הפופולריים ביותר וטכנולוגיות הייצור שלהם.
מפוח שלג מסור חזק
בעלי האזור הפרברי לעתים רחוקות נהנים מהשלג הכבד.בתקופה כזו יש להם דאגה אחת מרכזית - לפנות את שבילי הכניסה ואת המעבר לבית, להסיר את השלג מחניון הרכב ולעשות את דרכם עד היציאה לכביש המהיר. לא לכולם יש את האנרגיה והזמן לעבוד עם חפירה. לכן, מפלגות שלג פופולריות מאוד בעונה.
אבל מכשיר כזה עולה לפחות 30,000-35,000 רובל, ולא כולם יכולים להרשות לעצמם. ומה לגבי המאפיינים הטכניים של מכשיר זה? כל אותו מנוע בנזין בנפח 5-8 ליטר. מ. ואם זה כך, אז העוצמה של המנסור מספיקה תיאורטית למפוח שלג ביתי. מכשיר מחרשת השלג פשוט, שימו לב לתרשים:
ועכשיו כיתת אמן קטנה להכנת המכשיר:
לאחר הרכבת החלק העיקרי, נותר רק להתקין את המגלשיים ואת מיכל הדלק על המבנה. המבנה כולו במשקלו לא ישקל יותר מ- 35 ק"ג, כך שגם אישה שברירית תוכל לנהל אותו.
כתוצאה מכך כל המכשיר ייראה, ראה בצורה זו:
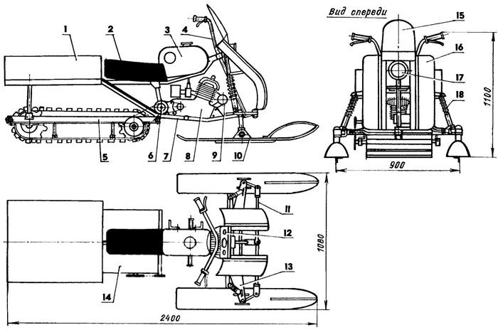
אופנוע שלג אוניברסלי עשה זאת בעצמך ממנסרת שרשרת
דיג או ציד בחורף הם בילוי מועדף על רבים. אתה לא יכול להגיע לאגם היקר בלי אופנוע שלג, ואין שום הנאה לרוץ דרך היער כדי לרדוף אחר משחק עד המותניים בשלג. "צעצוע" כזה עולה הרבה - מ- 80,000 רובל. ושוב, מסור המנסרים יעזור לך. מה שאתה צריך להכין: מזחלת מתאימה עם מגלשיים או מסלולים. את המזחלת עצמה ניתן לרתך מפינת אלומיניום מפלדה, או יותר טוב. ככל שהמבנה יהיה קל יותר כך הוא יפעל מהר יותר. כבסיס, אתה יכול לקחת את המכשיר של קטנוע שלג לילדים לשלושה מגלשים על פי תוכנית זו:
הדחף לתנועה של המכונה המונעת בעצמה ממנסרת המועבר מועבר על ידי הזחלים עם ווים, הדוחפים את המזחלת קדימה. אתה יכול להחליף את המסילות בחפירה עם 7-8 להבים, היא מותקנת מתחת למושב. העיקרון של התקנת מנוע זהה לאופנוע שלג - עם הנעה והילוכים מאופנוע או טוסטוס.
כמנוע לאופנוע שלג ממנסרת, אתה יכול להשתמש ב"חברות "או בדגמים מודרניים יותר, למשל," רגוע ". ההגה יתאים מהאופניים הישנים, הבקרה המוטורית מוצגת עליהם, או במידת האפשר, מיד תתאים את המבנה מהטוסטוס - שם כל הפקדים מוכנים.
בלמי אופנועי שלג הומצאו על ידי פחדנים. אבל למעשה, עם מנוע מסור, הוא לא יפתח מהירות מסוכנת, אז פשוט זרקו את הדלק. אל תרגיעו, מוצר כזה לא יירשם על ידי משטרת תנועה כלשהי. כך שאי אפשר לעבור על זה בדרכים. אבל אז אתה לא צריך לשלם מס ולעבור בדיקה טכנית. לנהיגה בחושך, אל תשכח לשים פנס על המבנה.
כיצד להכין אופנוע שלג ממסור חשמלי בוידאו:
מנסרה ביתית ממנסרה ביתית
במשקי בית פרטיים הבנייה לא נעצרת. בניתי מחדש את הבית - הגיתי ביתן, סיימתי ביתן - אני צריך מוסך, גדר, סככה, בית כלבים. וכן הלאה עד אינסוף. אם אין כספים נוספים, הדרך הזולה ביותר היא לקנות עץ עגול ולהמיס אותו בעצמכם לקרשים בגודל הנדרש. מנסרה ביתית ניתנת לבנייה מאותה מסור חשמלי.
ניתן לעשות מכשיר ניסור פרימיטיבי ישירות באתר הכריתה. לצורך העבודה אינך צריך לשנות את עיצוב היחידה, אלא רק צריך להכין מכשיר קטן למסור המנסרים שמנחה את תנועת הצמיג. ראה כיצד לעשות זאת:
מברשת קרח מסור DIY: תכנית ותרגול
הם אומרים שאי אפשר לשלוף דג מבריכה ללא קושי, אבל בחורף הייתי רוצה להגביל את העבודה על ידי עווית לנענע. הדייג הנלהב לעולם אינו מוגבל לחור אחד.
אבל אם הקרח הוא בעובי של 0.5 מ ', תבזבזו את רוב זמנכם בקידוחים ותאבדו את הכוח ואת מצב הרוח. בורג קרח יעזור להתמודד עם משימה זו במהירות וללא מאמץ. בואו נראה כמה עולה גאדג'ט כזה: מ -8,000 רובל. למה לקנות את זה כשיש לך מסור חשמלי בהישג יד? כדי להכין בורג קרח, אתה צריך מקדחה חשמלית ישנה - אנחנו נעשה ממנו נסיעה. כיצד להכין בורג קרח ממסור שרשרת במו ידיך:
עצה חשובה! המפתח לעבודה מוצלחת ולבטיחות כלים הוא נוכחות של מדריך לתנועת המקדחה. רבים מזניחים את החלק הזה בתכנון, וכתוצאה מכך המקדחה נשברת בדקות השימוש הראשונות.
כיצד יעבוד עיצוב ביתי מוצג בסרטון:
מקדחה מנועי DIY
מקדחת המנוע מתוכננת על פי אותו עיקרון כמו מקדחת הקרח. ההבדל יכול להיות רק בזרבובית. בעבודות עפר, מהירות הסיבוב של הספירלה לא צריכה להיות גבוהה מדי, לכן בעיצוב ביתי יש צורך לספק בקרת מהירות וכיבוי פשוט.
מנוע סירת מנסרים DIY
אם נשווה את העלות של סירה מתנפחת ומנוע, מתברר שהסירה זולה לפחות פעמיים. מנוע סירת הבנזין הכי יומרני של 4 סוסים יעלה 40,000 רובל. יקר, כדי להיות בטוח. אך מסור המנסרים PATRIOT PT 6220 בנפח 4.35 ליטר. מ. - רק 8 900 רובל. ההספק זהה, אך עלות המנוע זולה פי חמש! ומה, תגיד לי, הטעם ברכישת מנוע סירה יקר?

כן, אתה לא יכול להתרחק מפיקוח הדייג על מנוע כזה, אבל אם אתה לדוג דייג, זה יהיה מספיק כדי להגיע למקום
יצרני המנסרים ביררו זה מכבר את כל הנקודות הללו ומשחררים באופן רשמי למדי כל מיני קבצים מצורפים עבורם - מקדחה לכונן מדחף. מחיר מצורף לסירה הוא 5,000-6,000 רובל. יחד עם זאת, אין צורך לבצע שינויים משמעותיים בבניית המסור, מה שאומר שלאחר הדייג תוכלו להחליף את הזרבובית בקלות ולחתוך עצים להסקה לאש.עכשיו על האופן שבו נסיעה בסירה ביתית עובדת:
ועכשיו החומר על אופן הפעולה של מכשיר זה בפועל:
איך מייצרים טוסטוס מאופניים ומסור שרשרת
מוצר תוצרת בית זה של מסור המנסרים דרוז'בה הוא הפופולרי ביותר מבין האפשרויות שתוכלו לעשות בעצמכם. זה שעל הטוסטוס הוא תמיד הבחור הראשון בכפר, כך שאומנים רבים מתחילים עם מכשיר כזה בדיוק.
חָשׁוּב! בניית אופניים עם מנוע מסור חייבת להיות עמידה במיוחד. אם לא, חיזק את המסגרת בעזרת תמוכות נוספות.
גלגל מונע מותקן על הגלגל האחורי, המנוע מרותך היטב למסגרת. איך זה ייראה כתוצאה בעלילה זו:
טוסטוס המנסרים של דרוז'בה הוא די חזק, אז היזהר במיוחד ואל תשכח מכללי התעבורה!
המשך הנושא האוטומטי: קארטינג עשה זאת בעצמך ממנסרת
מאמני קארטינג צעירים יודעים כי יותר ממנוע אחד יישרף בתהליך האימון. הבעיה היא שהילד שנוהג ברכב הולך לאיבוד במהירות. מסיבה זו, די באימון קרטינג עם טרקטור מאחור ממנסרת שרשרת כדי להתחיל בשיעורים.
מכשיר הקארטינג פרימיטיבי: המסגרת, המושב, ההגה ולמעשה המנוע. העיקרון של התקנת המנוע זהה לזה על טוסטוס, ההבדל היחיד הוא במיקומו. כך זה נראה:
על קרטינג כזה ילדים יכולים לנסוע ללא סיכון לאורך מסלול המותאם לכך, והמהירות תהיה די הגונה - עד 80 קמ"ש.
גנרטור מסור עזר DIY
בין הכלים להישרדות בכל תנאי, הגנרטור רחוק מהמקום האחרון. מה לעשות אם חשמל נכבה פתאום בדאצ'ה שלך, ואתה, לא רק תישאר ללא אור, אלא גם החימום יפסיק לעבוד ללא משאבה. לרשת הביטחון שלך, עדיף להכין מראש את הגנרטור הפשוט ביותר ממנסרת.
השתמשו בציוד אופניים להעברת המומנט. במקרה זה, המסור חייב לפעול במהירות מינימלית.
ככה זה עובד:
כננת מסור
לעתים קרובות יש צורך בכננת בחווה: היא שימושית באתר בנייה להרמת חומרי בניין, להוצאת כלי רכב מבוץ קפיצי בלתי עביר, ובמצבים רבים בלתי צפויים אחרים. שוב מסור המנסרים יסייע במכנון מכשיר זה.
יש מכירות מצורפות מוכנות - כננות. הם עובדים בדרך זו:
אבל אתה יכול ליצור מכשיר פשוט במו ידיך. יהיה עליך ליצור מסגרת מתכתית חסונה אליה יחובר המנוע ולהרכיב את פיר ההילוכים.
חותך גז DIY ממסור חשמלי, או איך מכינים מטחנה: וידאו
חותך הגז הוא אותו מטחנה, ללא תלות בכונן החשמלי. מסכים, הכלי הכרחי במשק הבית.כדי להכין את זה אתה זקוק לקשר מטחנה, למסור שרשרת חזק מספיק, חגורה וזוג צמיגים. כיצד מייצרים מטחנה ממסור חשמלי:
היתרון של הכלי המתקבל הוא שהוא אוטונומי לחלוטין ובעל כוח טוב. אולי, הוא עולה במאפייניו על כל מטחנת חשמל מפעל. רק צריך לקחת בחשבון שהמכשיר מסוכן ודורש גישה מאוד זהירה לעצמו. הבעיה הנפוצה ביותר היא דיסק פרץ, שבריו עלולים לגרום לפציעה קשה. לכן, חל איסור מוחלט לעבוד עם כלי כזה ללא כיסוי מגן.
צעצוע למבוגרים: מכונית מסור חשמלי בשליטה רדיו
והצעצוע הזה בהחלט לא מיועד לילדים. קשה לומר איזה יישום מעשי ניתן למצוא למכונה נשלטת באמצעות מסור חשמלי, אך יוצריה כמעט ולא חיפשו אותה. עבור המתכנן הנלהב, דוח מכשיר מלא:
תוצרת בית ממנסרת המנסרים אוראל
מדוע לרוב תוכלו למצוא מידע על מוצרים תוצרת בית ממסור אוראל? זה פשוט: מסור חזק, אך כבד ורועש עם איכות סובייטית אמינה הושאר מחוץ לעבודה עבור רבים. הוא הוחלף בדגמים קלים ונוחים של ייצור אירופי וסיני.
"ידידות" ועשה זאת בעצמך ממנסרת המנסרים הזו
דרוז'בה הוא אביהם של אוראל, והוא הפך לבסיס תוצרת בית פופולרי מאותה סיבה. ל"דרוז'בה "מנוע דו פעימות חזק של 3 ליטר. מ. למכשיר יש אפילו בלם שרשרת.
"אוראל" ו"דרוז'בה "מובחנים בכוח וסיבולת מוגברים, כמו רוב הפתרונות ההנדסיים של תקופת ברית המועצות. בנוסף, הם מונעים בבנזין דל אוקטן, וזה חיסכון משמעותי. החיסרון היחיד של טכניקה זו הוא משקל.
מאמר קשור:
מסור מנסרים: באיזה מותג לבחור. קשה לדמיין את החיים בקוטג 'קיץ בלי לעבוד עם עץ. במקרה זה, מסור חשמלי הוא כלי חשוב. אז איזה מודל מתאים לכם על פי היעדים והתקציב שלכם?
כלי הישרדות
הצענו לכם אפשרויות רבות למסור מנסרים תוצרת בית, ותאמינו לי, זו לא כל הרשימה. אם יש לך מנוע בנזין, אתה יכול להמציא יותר ויותר מכשירים שימושיים ומצחיקים.
אם יש לך ניסיון בייצור מכשירים כאלה, שתף את הרעיונות שלך עם הקוראים בתגובות!


























































