כיצד להקים צלחת לווין בעצמך: כמה המלצות מעשיות
הטלוויזיה הייתה כבר זמן רב חלק בלתי נפרד מהחיים. גם בכפרים לעיתים נדירות תמצאו בית ללא טלוויזיה. יתר על כן, הערוצים יכולים להיות משודרים בדרכים שונות: דרך כבל או לוויין מתוח. אפשרויות השידור באמצעות כבלים מוגבלות ואיכות הערוצים גרועה יותר. לכן, צרכנים רבים חושבים כיצד להקים צלחת לווין בכוחות עצמם כדי לא להוציא כסף על קריאה למאסטר.
תוכן המאמר
איך עובדת טלוויזיה בלוויין
בחלל, ברמת קו המשווה של כדור הארץ, מסתובבים לווייני טלוויזיה, השולחים את האות לכדור הארץ, שם הוא מתקבל על ידי מכשירים מיוחדים - אנטנות, ואז אות זה מפוענח על מכשיר טלוויזיה ומעביר תמונה.
במקרה זה צלחת הלוויין משמשת כמעין עדשה האוספת גלי רדיו לקרן אחת, ומתגברת לקליטה יציבה. יתרה מכך, ככל שהלוויין נמצא רחוק יותר מהציוד, כך נדרש קוטר המנה גדול יותר.
בהתאם, ללא ציוד קבלה איכותי, האות לא יגיע לטלוויזיה. לכן, חשוב לבחור את המנה הנכונה, האות שממנו נכנס לקונווקטור, ואז הוא מומר ועובר למקלט, ורק אז נכנס למסך.
המקלט מותקן ליד הטלוויזיה. מספר הערוצים המשודרים ובהירותם תלוי בכוח ובאיכות של ציוד זה. התוכנה המותקנת מאפשרת לך "לתפוס" ולזהות מספר עצום של תוכניות טלוויזיה. על ידי עדכון גרסת הקושחה של המקלט, תוכל לגשת לערוצים חדשים.זו טלוויזיה כל כך משתלמת ואיכותית שמעלה את השאלה כיצד להקים צלחת לווין לבד, ואז ערוצי טלוויזיה.
כיצד להתקין צלחת לווין בעצמך (הוראות לבובות)
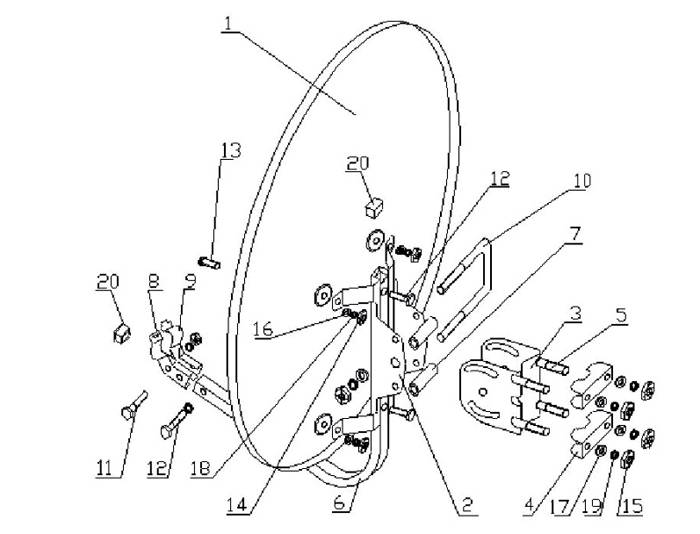
כדי לא להרכיב בחלקים סט לטלוויזיה בלוויין, אתה יכול לקנות אותו בחנות מתמחה או להזמין דרך האינטרנט. הדגמים מתעדכנים, לא כדאי לקחת ישנים מדי. חבילה זו כוללת את הפריטים הבאים:
- האנטנה עצמה היא בקוטר של 0.7 עד 1.2 מ ';
- קונווקטור, ייתכן שיש כמה (עד שלושה, המשמשים ברוסיה);
- רב מזינים - מערכת הידוק למווסת (2 יח ');
- דיסק - מכשיר למעבר בין קונווקטורים;
- כבל קואקסיאלי בעל התנגדות של 75 אוהם;
- מחבר F;
- סוגר, מסמרים או עוגנים.
לאחר רכישת הציוד נשאלת השאלה כיצד להתקין באופן עצמאי צלחת לווין על הגג או מחוץ לחלון.
מאמר קשור:
איך מכינים אנטנה במו ידיכם לטלוויזיה. במאמר נשקול שיטות פשוטות להכנת אנטנה במו ידיך לטלוויזיה, שעשויה להיות שימושית עבורך.
בחירת מושב
ראשית, הרכיב את האנטנה עצמה על פי ההוראות. בדוק שכל האומים והברגים הדוקים. השאיר רק מתלה אחד מעוות מעט (לכיוון הקונווקטור עצמו), שיהיה אחראי על המדרון האנכי.
על הקונווקטור להיות קבוע באמצע, עקוב אחר אורכו. יציאת הכבל צריכה להיות בניצב לקרקע. תיקון מלא מתרחש לאחר איתות ברור וקבלת הספק מספק.
כעת עליך לבחור את מיקום ההתקנה. בדרך כלל מותקן על קיר או גג. השמש תיפול בצד ימין בצהריים. ניתן לראות כיצד מותקן אותו ציוד אצל שכנים.
רוב הכלים מכוונים לכיוון אחד, לרוב זה אורך 56 מעלות מזרח (Tricalor ו- NTV פלוס). אם אתה מתחבר לטלוויזיה של קשת, הציוד יופנה מעט שמאלה (19⁰). טלוויזיה ביבשת וטלקרט מוגדרים על 85 85.
בעת בחירת כיוון ומקום ההתקנה, יש לבדוק שאובייקטים זרים אינם מפריעים לאות, כלומר, שום דבר לא אמור לחסום את האנטנה. לאחר כל הבדיקות, תוכלו להמשיך לשלב אבטחת הציוד.
התקנת סוגר
התושבת חייבת להיות קבועה היטב וברגים שונים משמשים לקירות שונים. עבור קירות לבנים, בטון או עץ מתאים בורג אינסטלציה של 17 או 13 ראשים. אם אתם משתמשים באנטנה רגילה של 90 שניות, די בבורג של 6 ס"מ.
אתה יכול פשוט לדפוק בורג לעץ, לבטון או לבנים, קודם לעשות חור עם אגרוף, ולשים דיבלים בכמויות גדולות.
חָשׁוּב! אם אתה מתקין ציוד לוויני על בטון מוקצף או בטון סודה, אז רכש דיבלים מתאימים.
אם הדירה מעוטרת בחיפוי, יידרשו ברגי אינסטלציה ארוכים יותר, ומותקנים גם מרווחים מצינורות מתכת. ראשית, הכינו את החורים בקוטר הנדרש, ואז צרו רווחים והתקינו את האנטנה.
אתה יכול לתקן את הציוד על קרן מתכת, בשביל זה אתה צריך להשתמש ברגים הקשה עצמית עבור מתכת עם מקדחה מיוחדת עם ראש משושה.כאשר מרכיבים את הציוד, אך הבריח האחרון טרם הוצמד היטב, יש צורך לבדוק את איכות האות. לשם כך השתמשו במכשיר לכוונון צלחת לווין, תוכלו לבצע את הכוונון בלעדיו במו ידיכם.
מאמר קשור:
סוגר לטלוויזיה על הקיר, מחליק. במאמר נשקול את תכונות היישום, סוגי המכשיר, סודות הבחירה וההתקנה.
כיצד להגדיר צלחת לווין בעצמך: לבדוק את אות הלווין
כאשר האנטנה מותקנת על הגג, נותר לחבר את הכבל למקלט ולבצע את ההגדרות, אך בשלב זה נשאלת השאלה האם כיוון התבשיל על הגג נכון.
אתה יכול כל הזמן לרדת ולבדוק את האות במקלט או להרים טלוויזיה ניידת על הגג ולבדוק אותה.אבל יש אפשרות הרבה יותר פשוטה: לקנות מכשיר מיוחד לבדיקת אות הלווין מבלי לעזוב את האנטנה עצמה.
אם תחליט לחסוך כסף, שקול כיצד להקים בעצמך צלחת לווין ללא מכשיר:
- חבר את כבל החשמל (220W) לצלחת.
- התקן את המקלט שלידו, שהיה כלול בערכה.
- הביאו טלוויזיה ניידת לאתר הבדיקה.
- אתה מחבר הכל על פי התרשים ובודק על ידי התאמת כיוון הצלחת.
אם אין רצון לגרור את הכל למעלה, עדיין כדאי לקנות את המכשיר, בעוד שהטיונר והטלוויזיה יישארו במקומותיהם. המכשיר יציג נתונים על האות הנכנס. במקרה זה הכוח לציוד זה מגיע מהמקלט, ולכן כל שנותר הוא להתאים את כיוון המצלה עצמה.
האפשרויות הפשוטות ביותר מציגות קנה מידה ואותות קול על המסך, היקרים יותר יציגו את התדר והטווח, מה שיאפשר לך להתאים במהירות את כיוון האנטנה.
חיבור והגדרת מכוון צלחות לווין בעצמך
לפני שתמשיך לתשובה לשאלה כיצד לכוון ערוצים על צלחת לווין, עליך לחבר את המקלט לטלוויזיה בעצמך. לשם כך תוכלו להשתמש בכמה אפשרויות של יצרנים.
טבלה 1. חיבור המקלט לטלוויזיה בעצמך
לאחר חיבור הציוד והפעלתו לרשת, עבור ישירות לכוונון הערוצים בטלוויזיה. לשם כך לחץ תחילה על כפתור התפריט בשלט הרחוק של המקלט. אם שום דבר לא קרה על מסך הטלוויזיה, משהו לא בסדר או לא מחובר לרשת.
חָשׁוּב! בחר בטלוויזיה עצמה את שיטת החיבור של המקלט (AV, Sourse, Unpet לחצנים או מלבן עם חץ בשלט הרחוק).
נותר לבצע את ההגדרות האחרונות ולחפש ערוצים:
- עבור לתפריט.
- התקנות או התקנה פתוחים.
- בתחתית המסך, בחלון שנפתח, יהיו שני סולמות המציגים את איכות האות.
- הגדרות בסיסיות מוגדרות כברירת מחדל. בחר את שם הלוויין.
- בשורה LNB, ציין את סוג הקונווקטור.
- אל תיגע בשאר הנתונים, רק בדוק אם ה- LNB מופעל.
כאשר מאזני הכוח מראים מספרים גבוהים, חבר את הכבל הקואקסיאלי שעובר מהקונווקטור למקלט. במקרה זה, הכינו את מחברי ה- F מראש. הנה סרטון כיצד להתחבר נכון.
כמה טיפים
- אתה יכול להתקין ולהגדיר נכון את צלחת הלוויין בעצמך, אתה רק צריך לעקוב אחר ההוראות המדויקות בכל שלב בעבודה.
- עדיף להשתמש במכשיר מיוחד לבדיקת אות הלווין.
- חבר בזהירות את המקלט לטלוויזיה והתאם את הגדרותיו.
- אם אינך יכול להתמודד לבד, עדיף להתייעץ עם מומחה.
סרטון DIY העוסק בחיבור והקמת צלחת לווין






























