כיצד לבחור משאבות טבולות לבארות: קריטריונים לבחירה
IN בבתים כפריים, מערכת אספקת המים תלויה לעיתים קרובות בבאר או בבאר, המצוידים בעומק של 8-10 מטר. לא ניתן להשיג מים מעומק כזה לבד. יתר על כן, לא נוח לצאת החוצה בכל פעם שאתה זקוק למי שתייה טריים. לכן, בעלי קוטג'ים בקיץ ודיור בפרברים צריכים לשים לב במיוחד לדגמי המכשירים הצוללים. הם יספקו אספקת מים ללא הפרעה לבית. בואו נסתכל כיצד לבחור משאבות צוללות לבארות ואת עקרון המנגנון.
תוכן המאמר
עקרון הפעולה והתכנון של משאבה צוללת
המשאבה הצוללת עובדת במים. הוא מרים נוזלים גם מבארות ובארות עמוקות מאוד אל פני השטח. כדאי להבחין בין התקנים לבאר להתקנות. בארות נוטות להיות בעלות צורה מאורכת יותר לעבודה בבארות צרות וראש גבוה יותר להרמת מים ממעמקים גדולים.
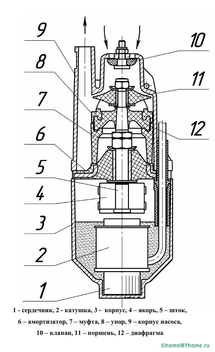
לסוגים אלה יש הבדלים קלים במכשיר. בעיקרון, כל היחידות כוללות את החלקים הבאים:
- האימפלר, שהוא היסוד המבני העיקרי. הוא מניע את כל שאר פרטי המבנה;
- להבי גלגלים. הם מייצרים כוח צנטריפוגלי, הדרוש לספיגה מהירה של מים;
- אזור יניקה;
- דיור באימפלר. הוא מגן עליו מפני ההשפעות השליליות של הסביבה;
- שסתום - לוכד מים במשאבה ומונע את החזרתם לבאר;
- רשת הגנה נחוצה כדי להגן על מי שתייה מפני זיהומים מזיקים העלולים להשפיע לרעה על בריאות תושבי הבית.
- צינור שתפקידו להעביר מים מהמשאבה אל מערכת אספקת מים.
המפוח הצולל מופעל באמצעות חשמל. זה גורם לסיבוב המדחף.לפיכך, הנוזל זורם מהבאר או מהבאר אל הצינור, שמוביל בתורו מים למערכת אספקת המים.
כפי שאנו רואים, עיקרון הפעולה, כמו גם תכנון המגדש עצמו, הם יסודיים. עכשיו בואו נגלה אילו סוגים של מכשירים אלה קיימים וכיצד לבחור משאבה צוללת לבאר.
וידאו: עקרון הפעולה והעיצוב של משאבה צוללת
סיווג יחידות טבולות
לפי תכנון מובחנים הסוגים הבאים:
- רוֹטֵט - הוא מבנה של ויברטור, אלקטרומגנט ומארז. הוא נמצא בשימוש נרחב באזורים פרבריים לא רק לצורך שאיבה ואספקת מים לבית, אלא גם עבור להשקות את הגן וגן. מכשירי רטט מציגים ביצועים טובים מבחינת לחץ ועוצמה. יתר על כן, מחירם נמוך;
- מְעַרבּוֹלֶת - מורכב מאזור פריקה ומנוע חשמלי. האלמנט הראשון משמש לשאיבת נוזלים, השני להזנת מים לבית. סוג זה מסוגל להרים מים מעומק של 12 מטר. במקרה זה, התהליך מתרחש די מהר;
- צֶנטרִיפוּגָלִי - קומפלקס של שני בלוקים: תא עבודה ומנוע. הם שואבים עד כמה מאות ליטרים לשעה הודות לנוכחות פיר צנטריפוגלי מיוחד. עם זאת, למכשירים כאלה יש חסרון משמעותי אחד: הם צורכים יותר מדי חַשְׁמַל.
קריטריונים לבחירה למכשירים צוללים
כדי להפוך את המכשיר למתאים לביתך, עליך להחליט על הפרמטרים הבאים:
- מרחק מהבאר לבית המגורים. ככל שהמרחק גדול יותר, יש לבחור את דגם המשאבה חזק יותר;
- כמות המים הנצרכת. כפי שמראה בפועל, למשפחות רגילות המורכבות מ 4-5 אנשים, המפוח הרגיל ביותר בעל עוצמה בינונית מתאים. אבל אם מספר גדול יותר של אנשים גרים בבית, כדאי לבחור במודל חזק יותר;
- ביצועים. פרמטר זה נמדד בליטר נוזלים שהמשאבה יכולה להעלות ליחידת זמן. בממוצע, התפוקה מגיעה ל -4.2 ÷ 4.5 מטר מעוקב. עם זאת, אם המכשיר נחוץ לא רק לאספקת מים רגילה לבית, אלא גם להשקיית חלקה אישית מרווחת, עליכם לשים לב למודלים עם קיבולת של 4.8 מטר מעוקב ומעלה;
- כּוֹחַ. זה מצוין בקילוואט. מחוון זה מציין את נפח המים המסופקים ליחידת זמן. אבל אתה לא צריך לקנות מכשיר על פי העיקרון של "ככל שיש יותר כוח, כן ייטב." אם המשפחה שלך לא זקוקה ליותר מדי מים, אז קח מפוח בעל קיבולת ממוצעת, שכן מכשיר חזק מדי גוזל אנרגיה רבה.
על סמך אינדיקטורים אלה, תוכלו לבחור את היחידה האופטימלית לביתכם, שתשרת אתכם שנים רבות ברציפות.
כיצד לבחור משאבה לבאר: סקירה של דגמים פופולריים
סרטון: משאבות באר גרונדפוס
אם אינך בטוח איזו משאבה צוללת לבאר לבחור, עיין בלוח שלמטה:
שם מותג | תיאור | מי צריך לקנות |
"פדרולו" | מכשיר איכותי של יצרן איטלקי. המרכב עשוי נירוסטה שבזכותו חיי השירות של המכשיר מגיעים לעשרות שנים. דגמים בקוטר "3" אינם זמינים. | - למי שרוצה להתקין משאבה מיובאת באיכות גבוהה בכמות מספקת. |
"Grundfoss" | מותג גרמני-דני. ישנן פונקציות נוספות כגון הגנה מפני ריצה יבשה והתחלה רכה. | - אלה שמוכנים לשלם כסף גדול על האיכות.- למי שזקוק ליחידה בקוטר "4". |
ספרוט | הפקה אוקראינית-סינית. המוצרים כוללים משאבות בקוטר "3". מחיר נמוך. | - למי שרוצה לצייד קוטג 'קטן בו אין צורך במשאבה גדולה. |
"ETsV" | הפקה אוקראינית. בהשוואה ליצרניות אירופאיות, מחירו נמוך ובכל זאת, פרודוקטיביות גבוהה. עם זאת, יחד עם זאת, מודלים כאלה צורכים כמות לא מוצדקת של חשמל. | - למי שרוצה להצטייד במפעלים כפריים תעשייתיים. |
צלחת זו תנחה אתכם באיזו משאבה לבחור לבאר או לבאר.
מסקנות
- משאבה צוללת היא מכשיר הכרחי לבקתות קיץ, שם מקור הנוזל העיקרי נו;
- היחידה מוליכה מים מעומק של יותר מ -10 מטרים;
- ככל שאתה צריך יותר מים, כך אתה צריך יותר כוח.
וידאו: כיצד לבחור משאבה ומהן

































