בלנדר טבולה: איזו אפשרות עדיף לבחור על פי סט של קריטריונים חשובים
מגוון מכשירי המטבח הביתיים כה רחב, עד שכל משתמש מתקשה בבחירתו. מותגים מפורסמים ויצרנים חדשים מציגים באופן קבוע ציוד עם מאפייני הצרכן הטובים ביותר. קל יותר להבין איזה בלנדר ידני יהיה טוב יותר לאחר קריאת מאמר זה. הוא מספר על עקרונות הפעלת הציוד, על הכללים להערכת מודלים שונים.
תוכן המאמר
כיצד לבחור בלנדר לביתכם
מכשירי מטבח איכותיים מקלים על משימות העבודה הקשות והמורכבות. כדי להבין מה עדיף לבחור בבלנדר טבולי, נדרש ניתוח זהיר. מסקנות כלליות ניתנות בסוף המאמר. אך ברור שיש להעריך את הגורמים הבאים בשילוב:
- מפרטים;
- קלות הטיפול;
- התנגדות להשפעות חיצוניות;
- עֲמִידוּת;
- מחיר.
הערה! לא צריך להכניס דגם נייח יפה לאחר השימוש. ציוד שנבחר כהלכה יכול לקשט חדר. המאפיינים האסתטיים שלו חייבים להתאים לסגנון של פנים מסוימים.
מטרה ועקרון הפעולה
תפקידו העיקרי של בלנדר הוא למזג מרכיבי מזון שונים בתהליך הבישול. לשם ביצוע משימה זו משתמשים בזרבובית מיוחדת. הוא קבוע על גלגלת ארוכה על מנת לטבול את כלי העבודה בקלות בעומק התערובת. כונן חשמלי משמש לסיבוב.
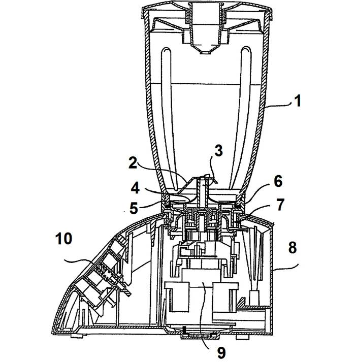
רכיבים:
- (1) גוף קערה;
- (2) מערבל מסתובב;
- (3) פיר;
- (4, 5) אלמנטים המבטיחים את הידוק תחנת העגינה;
- (6.7) חלקים תחתונים של הקערה;
- (8) גוף;
- (9) מנוע חשמלי;
- (10) כפתור הפעלה.
סוגי טכניקות
כדי להחליט מה עדיף לבחור בלנדר טבול, עליך לברר את התכונות של דגמים שונים.
טכניקה זו נוחה לשימוש במצבים שונים. זה שוקל קצת.משתמשים בו בשילוב עם מיכלים בגדלים שונים. גודל המנה וצורת הכלים לא חשובים.
ציוד ממעמד זה מבצע את תפקידיו במצב אוטונומי. לכן, עיבוד ארוך טווח של מוצרים ללא עייפות משתמש מקובל. ניתן לצייד את הבלנדר הנייח במנוע חשמלי כבד וחזק לטחינת רכיבים מוצקים.
ציוד וקבצים מצורפים
כדי לברר באיזה בלנדר עדיף לבחור, לא מספיק לבדוק רק מחירים ותמונות. יש לקחת בחשבון את הניואנסים המפורטים להלן בבחירת האפשרות המתאימה.
לייצור חלק זה של המבנה משתמשים בתרכובות פולימר איכותיות. קערות קלות משקל נוחות לעבודה. קירות שקופים למחצה אינם מפריעים לבדיקה חזותית. אם ישנם סימנים מתאימים, לא קשה למדוד את נפח החומרים הטעונים. מוצרים כאלה אינם סופחים ריחות וצבעים, הם מנקים ללא מאמץ מלכלוך. הם אינם רגישים לתהליכי קורוזיה הרסניים.
מיכל הנירוסטה יקר יותר. אך הוא מיועד לעומסים כבדים. הוא לא יינזק: נפילה מגובה רב, פגיעות חזקות, טמפרטורות גבוהות ונמוכות. אורך חיים ארוך ישלם את ההשקעה הראשונית.
מיכל זה הוא ניטרלי מבחינה כימית. זה לא פוגע בטעם המרכיבים, הוא נשטף בקלות משומנים ומזהמים אחרים. כוחו פחות מזה של מקבילו מפלדה. אך עם טיפול זהיר - חיי השירות אינם מוגבלים בשום דבר.
ציוד זה מרחיב משמעותית את הפונקציות הבסיסיות של מערבל הידיים. מקציפים ביצים עם מטרפה. טוחנים ירקות עם גרבונים. סכינים בצורות שונות שימושיות לחיתוך מזון ל"רצועות ", לפרוסות צרות. כל הכלים הללו מונעים על ידי יחידת פלאגין עם מנוע חשמלי מובנה. זה משמש עם כמה קבצים מצורפים כמיקסר ידיים רגיל.
יש לבדוק את הנוחות והפונקציונליות של ההתאמות:
- אם יש מצב "טורבו", אפשר ללחוץ על הכפתור המתאים להפעיל את מהירות הסיבוב המקסימלית.
- "דחף" - סיבוב / עצירה מחזורית. במצב זה קל יותר לטחון אגוזים ומרכיבים מוצקים אחרים.
- בחלק מהדגמים, יצרנים הגדירו 25 רמות מהירות. אבל עדיף אם הציוד מצויד בהתאמה חלקה. במקרה זה, לא קשה למצוא את מצב הסיבוב האופטימלי.
מכשירים כאלה מותקנים בציוד מקצועי בכיתה. טכניקה זו מסוגלת לעבוד בתוכניות שונות. מערכות בקרת מגע נוחות לבחירת פריטי התפריט הרצויים, הגדרות המשתמש. תצוגות הצבע מציגות מידע חשוב בצורה ברורה. יתרון נוסף הוא היעדר חריצים, כוננים מכניים של יחידות בקרה. זה משפר את רמת האמינות הכוללת.
כלפי חוץ, הבלנדר הזה אינו שונה מדגמים סטנדרטיים. עם זאת, גוף החימום המובנה הופך אותו לציוד בישול שלם. לאחר ערבוב החומרים, המצב הרצוי מופעל - ותוך מספר דקות מרק הפירה החם יהיה מוכן.
מודל זה מותקן טיפול באדים. יש לו השפעה עדינה על המזון, משמר ויטמינים ומינרלים שימושיים. ציוד זה מתאים להכנת אוכל תזונתי ותינוק.
מה עדיף לבחור בבלנדר ידני: דירוג הדגמים הפופולריים
הערה! כדי לגלות מה הכי טוב בעצמך לבחור בבלנדר טבולי, תחילה מורכבת רשימה של דרישות אישיות.
איזה בלנדר עדיף לבחור על פי ביקורות הבעלים: צוללות או נייחות
לבחירת בלנדר טבולה, חוות דעת המשתמשים שימושיות:
סבטלנה ניקיפורובה (Bosch / MSM6A3R): “בלנדר מאוד שימושי, קטן אך עוצמתי. אין חוטים מהווים יתרון נוסף. אתה יכול לעבוד עם ציוד כזה בכל מקום רצוי ללא הגבלות. "
יקטרינה סקולקינה (ProfiCook / PC-UM 1006): “משפחה גדולה זקוקה לציוד מטבח מתאים. הבלנדר העוצמתי הזה נמצא בשימוש אינטנסיבי מאוד כבר למעלה משנה, אך עדיין אין תגובות. "
אלכסנדר סוחורוקוב (בראון / MultiQuick 9 MQ 9087X): "אני לוקח חלק פעיל בציוד הטכני של המטבח. מודל זה נבחר בגלל הפונקציונליות המורחבת שלו. הבלנדר עובד ללא רעש מיותר, משלים במהירות את שלבי העבודה. "
המלצות ומסקנות
בנוסף לגורמים המפורטים לעיל, יש להתחשב בניואנסים הבאים:
- אוטונומיה טובה יותר לא רק תספק כבל ארוך. כמה דגמים חדשים יותר של מכשירי כף יד פועלים על סוללה מובנית.
- כפות הרגליים הגומי מספקות יציבות טובה וללא שריטות. הידיות הארגונומיות נוחות לאחיזה. שימו לב למאפיינים הבסיסיים והנוספים כדי לקבל מודל איכותי באמת.
כמה עולה בלנדר מתאים. אך בכל מקרה, עליכם לבחור בטכניקה עם ציפייה לאופן יישום מסוים. לביצוע פעולות עבודה בסיסיות ניתן לרכוש דגם כף יד קומפקטי. מצד שני, עלינו לזכור את היכולות הרחבות של בלנדרים רב תכליתיים. חלקם אינם נחותים בפרמטרים שלהם לעומת מעבדי מזון מן המניין.
וידאו: כיצד לבחור בלנדר





































